Water heaters and other thermal energy storage devices increase the temperature of a medium above an ambient or normal temperature, and store the warmer medium. Water heaters, in particular, must store the heated water in such a way that it is available for immediate use on demand.
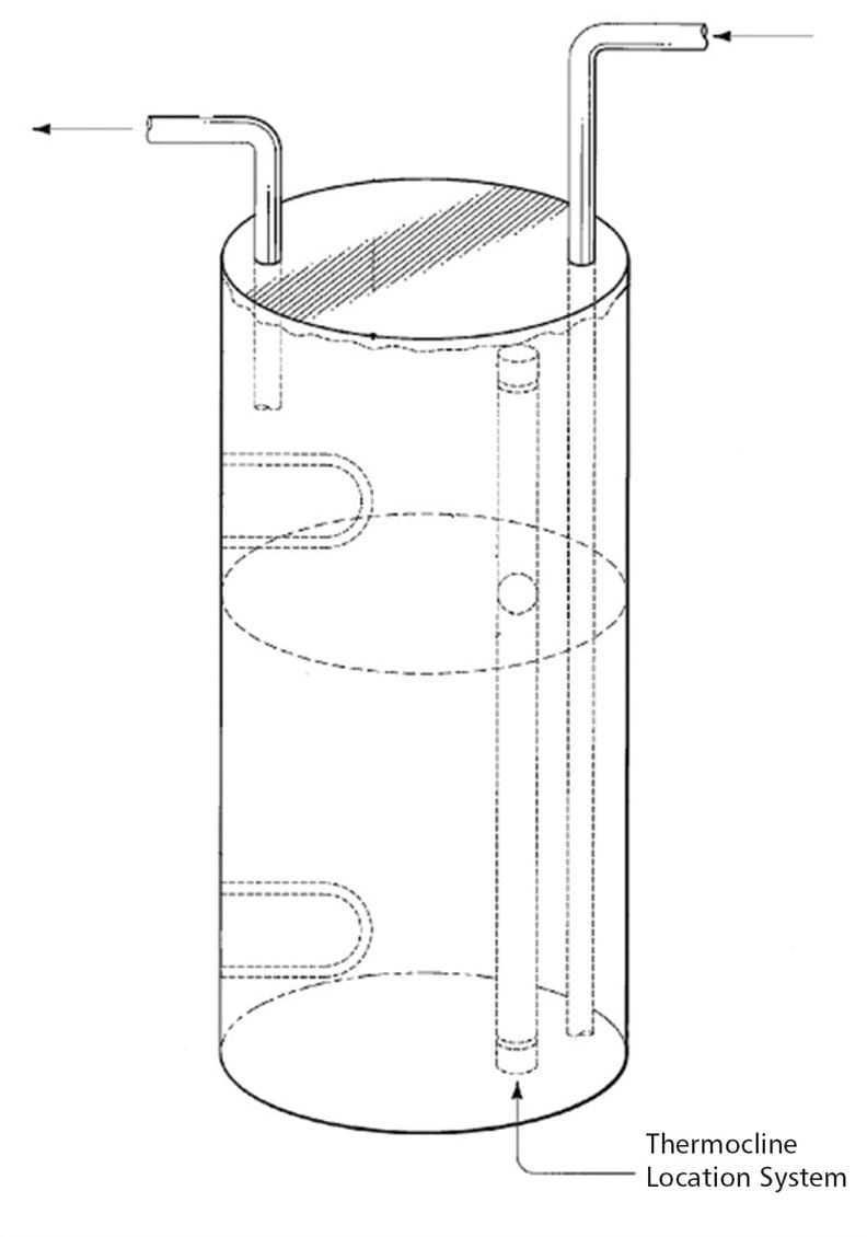
A water heater typically has three regions: hot water in the top of the reservoir, cold water near the bottom, and a thermocline in between. The position of the thermocline corresponds to a boundary for the cold and hot water. This boundary moves down as more water is heated, and moves up as hot water is used.
The thermal energy storage system described here is designed to monitor the amount of heated medium so that users are aware of what is available for various applications. It may also increase efficiency, reduce consumption, and save costs.
The thermal energy storage system follows the thermocline as it moves up and down in the reservoir, and provides information on its location and the current state of the thermal energy storage device (for example, heating, not-heating) to alert users as to optimal discharge times.
The system comprises four components: a reservoir to hold the medium, a control system that can adjust the temperature of the medium, a location system to follow the thermocline, and a monitoring system that provides information on the state of the system. The thermocline location system includes a position-indicating object that moves through the reservoir with the thermocline and sends a signal to the monitoring system. The four components work together to identify an optimum heating approach, decreasing energy consumption while providing sufficient heated medium as needed.
For more information, contact Jennifer J. Hodas at

