Individual Emergency System
Metin Giousouf, Esslingen, Baden-Wurttemberg, Germany
This system can be used by people with risk of epileptic seizures or apoplexy due to health problems, or for those living alone. The system consists of a wristwatch and a cell phone combined. Between the two devices, a radio signal transmission is implemented. The watch also has motion sensors built in that control the movement of the user, and it measures heartbeat and body temperature.
If the wearer doesn’t move for a specific length of time or other body parameters go out of normal limits, the watch asks the user if there is an emergency. If the user does not answer to the display and sound signals of the watch, the watch contacts a predefined person such as a physician through the cell phone, which introduces itself as an automatic system, providing the name and location of the wearer. The location also can be determined by the location of the cell phone.
Both devices must be kept in close distance. Because the system can be used outdoors, it could be useful for hikers, climbers, and others involved in dangerous outdoor sports.
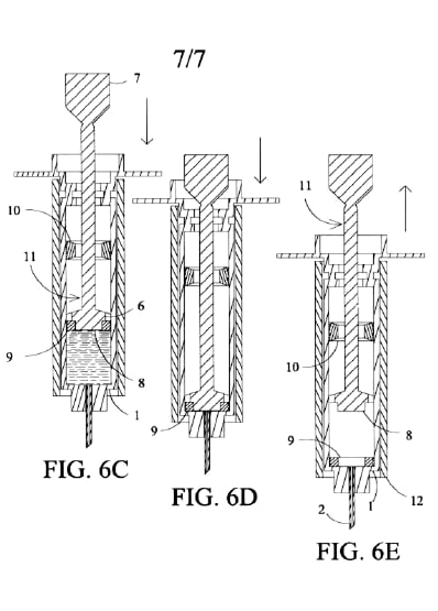
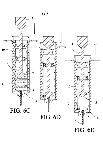
Non-Reusable Disposable Syringe
Daryl Bell-Greenstreet, Lakeside, CA
This improvement to disposable syringes, such as those used at home by diabetics or in professional settings by caregivers, eliminates the possibility of accidental or intentional re-use of a syringe. The syringe works just like any syringe it would replace, requiring no learning curve for the user. It works by permitting one good injection before self-defeating in such a manner that it can never be re-used.
The syringe would replace the five million syringes currently used daily by American diabetics, and could reduce intravenous infections such as hepatitis C or HIV that result from needle sharing. It would be manufactured by high-speed robotics at a rate of 600 syringes per minute.
Drywall Tape Trimmer
Mike Munter, Munter Designs,
Seattle, WA
One side of this tool cuts the paper on drywall to the exact width of drywall tape where two butt joints meet. The other side of the tool goes under the cut paper and separates it from the gypsum. This allows a taper to put fiberglass tape over the exposed gypsum, giving it close to the same depth as the surrounding paper. This allows butt joints to be used anywhere on drywall, reducing waste. The process also makes drywall patch jobs quicker and easier.

