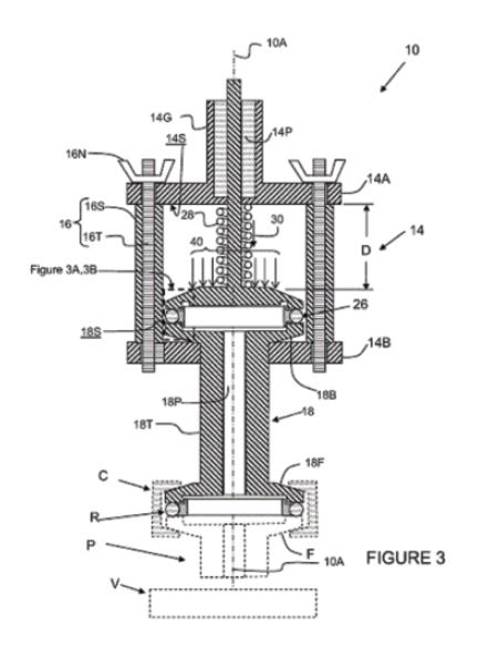
Reclosable pressure-relief devices that employ a frusto-conical valve assembly or spherical valve assembly have been found to leak under vacuum. A new technology fixes leaks in low-pressure (less than 50 psi) relief valves. The invention adds a ring inside the valve. Both the valve seat and the sealing surface of the valve head are annular planar confronting surfaces oriented substantially perpendicular to the valve axis, and the resilient valve seal is an annular O-ring. To form a vacuum- tight seal, the O-ring is compressed between two planar mating surfaces by the valve spring. Pressure relief capacity is maintained, while providing a vacuum-tight seal during normal operation.
Get the complete report on this technology at:
www.techbriefs.com/tow/201309b.html
Email:
Phone: 781-972-0600

