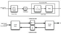
A theoretical and experimental study was conducted of the limit imposed by photon-detector jitter on the capacity of a pulse-position- modulated optical communication system in which the receiver operates in a photon-counting (weak-signal) regime. Photon-detector jitter is a random delay between impingement of a photon and generation of an electrical pulse by the detector.
In the study, jitter statistics were computed from jitter measurements made on several photon detectors. The probability density of jitter was mathematically modeled by use of a weighted sum of Gaussian functions. Parameters of the model were adjusted to fit histograms representing the measured-jitter statistics. Likelihoods of assigning detector-output pulses to correct pulse time slots in the presence of jitter were derived and used to compute channel capacities and corresponding losses due to jitter.
It was found that the loss, expressed as the ratio between the signal power needed to achieve a specified capacity in the presence of jitter and that needed to obtain the same capacity in the absence of jitter, is well approximated as a quadratic function of the standard deviation of the jitter in units of pulse-time-slot duration.
This work was done by Bruce E. Moision and William H. Farr of Caltech for NASA’s Jet Propulsion Laboratory. For more information, contact

