61
26,86,87,88,96,97,99,100,101,169,197,949,950,973,1001,1007
-1
8580
30
Techs for License
A locking technology can be widely used in the hardwood and laminate floor installation process. After being spliced, the two-locking structure has bearing capacity similar to that of a whole...
Techs for License
Reclosable pressure-relief devices that employ a frusto-conical valve assembly or spherical valve assembly have been found to leak under vacuum. A new technology fixes leaks in low-pressure (less...
Tech Needs
Preventing Adhesion of Cellulose to Steel
A client’s application joins cellulose and a resin binder. A combination of the binding agent and fibers sticks to the surface of the steel. The organization therefore seeks novel foams, coatings, and gels to act as a physical buffer between the fibers and the steel. The physical buffer must function up...
Tech Needs
Personal Cleansing Innovations
Personal cleansing after using the bathroom is a worldwide necessity, and various cultures solve that need differently. New devices must facilitate this type of cleaning and deliver soothing formulations onto the skin. The technology will serve as an alternative to Western dry toilet paper, European bidets, and...
Briefs: Lighting
Minuscule crystals that glow different colors may be the missing ingredient for white LED lighting that illuminates homes and offices as effectively as natural sunlight.
Briefs: Lighting
Tiny particles of matter called quantum dots, which emit light with exceptionally pure and bright colors, have found a prominent role as biological markers. In addition, they are realizing their potential...
Research News: Lighting
Light-emitting diodes, are the most efficient and environmentally friendly light bulbs on the market. But they come at a higher up-front price than other bulbs, especially...
Research News: Lighting
University of Utah metallurgists used an old microwave oven to produce a nanocrystal semiconductor rapidly using cheap, abundant and less toxic metals than other semiconductors....
Articles: Software
A frequency selective surface that acts as an RF filter and helps reduce the radar cross-section of antennas consists of a pattern of geometrical objects. There are literally thousands of possibilities,...
Products: Test & Measurement
Pico Technology, Tyler, TX, has introduced the PicoScope 5000 Series flexible-resolution oscilloscopes that use reconfigurable ADC technology to offer a choice of resolutions from 8 to 16 bits in...
Briefs: Mechanical & Fluid Systems
On planetary surfaces, pressurized human habitable volumes will require a means to carry equipment around within the volume of the habitat, regardless of the partial...
Briefs: Mechanical & Fluid Systems
Impact-Actuated Digging Tool for Lunar Excavation
NASA’s plans for a lunar outpost require extensive excavation. The Lunar Surface Systems Project Office projects that thousands of tons of lunar soil will need to be moved. Conventional excavators dig through soil by brute force, and depend upon their substantial weight to react to the forces...
Briefs: Mechanical & Fluid Systems
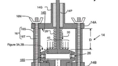
Conical Seat Shut- Off Valve
A moveable valve for controlling flow of a pressurized working fluid was designed. This valve consists of a hollow, moveable floating piston pressed against a stationary solid seat, and can use the working fluid to seal the valve. This open/closed, novel valve is able to use metal-to-metal seats, without requiring seat...
Briefs: Mechanical & Fluid Systems
Flexible Mechanical Conveyors for Regolith Extraction and Transport
A report describes flexible mechanical conveying systems for transporting fine cohesive regolith under microgravity and vacuum conditions. They are totally enclosed, virtually dust-free, and can include enough flexibility in the conveying path to enable an expanded range of...
Briefs: Electronics & Computers
Remote Memory Access Protocol Target Node Intellectual Property
The MagnetoSpheric Multiscale (MMS) mission had a requirement to use the Remote Memory Access Protocol (RMAP) over its SpaceWire network. At the time, no known intellectual property (IP) cores were available for purchase. Additionally, MMS preferred to implement the RMAP functionality...
Briefs: Electronics & Computers
Column-parallel analog-to-digital converters (ADCs) for imagers involve simultaneous operation of many ADCs. Single-slope ADCs are well adapted to this use because of their simplicity. Each ADC contains...
Briefs: Electronics & Computers
Soft Decision Analyzer
The Soft Decision Analyzer (SDA) is an instrument that combines hardware, firmware, and software to perform realtime closed-loop end-to-end statistical analysis of single- or dual- channel serial digital RF communications systems operating in very low signal-to-noise conditions. As an innovation, the unique SDA capabilities...
Briefs: Electronics & Computers
Distributed Prognostics and Health Management With a Wireless Network Architecture
A heterogeneous set of system components monitored by a varied suite of sensors and a particle-filtering (PF) framework, with the power and the flexibility to adapt to the different diagnostic and prognostic needs, has been developed. Both the diagnostic and...
Briefs: Manufacturing & Prototyping
The use of additive manufacturing technologies in aerospace applications has presented both opportunities and challenges. The ability to produce parts and...
Briefs: Manufacturing & Prototyping
Bismuth Passivation Technique for High-Resolution X-Ray Detectors
The Athena-plus team requires X-ray sensors with energy resolution of better than one part in 3,000 at 6 keV X-rays. While bismuth is an excellent material for high X-ray stopping power and low heat capacity (for large signal when an X-ray is stopped by the absorber), oxidation of...
Briefs: Materials
Microgravity Storage Vessels and Conveying-Line Feeders for Cohesive Regolith
Under microgravity, the usual methods of placing granular solids into, or extracting them from, containers or storage vessels will not function. Alternative methods are required to provide a motive force to move the material. New configurations for microgravity regolith...
Briefs: Materials
In a previous disclosure, the use of 60-NiTiNOL, an ordered intermetallic compound composed of 60 weight percent nickel and 40 weight percent titanium, was investigated as a material for advanced aerospace...
Briefs: Materials
Cu-Cr-Nb-Zr Alloy for Rocket Engines and Other High-Heat- Flux Applications
Rocket-engine main combustion chamber liners are used to contain the burning of fuel and oxidizer and provide a stream of high-velocity gas for propulsion. The liners in engines such as the Space Shuttle Main Engine are regeneratively cooled by flowing fuel, e.g., cryogenic...
Briefs: Physical Sciences
Atomic Force Microscope Mediated Chromatography
The atomic force microscope (AFM) is used to inject a sample, provide shear-driven liquid flow over a functionalized substrate, and detect separated components. This is demonstrated using lipophilic dyes and normal phase chromatography. A significant reduction in both size and separation time scales...
Briefs: Physical Sciences
Oxygen used for extravehicular activities (EVAs) must be free of contaminants because a difference in a few tenths of a percent of argon or nitrogen content can mean...
Briefs: Physical Sciences
CRUQS: A Miniature Fine Sun Sensor for Nanosatellites
A new miniature fine Sun sensor has been developed that uses a quadrant photodiode and housing to determine the Sun vector. Its size, mass, and power make it especially suited to small satellite applications, especially nanosatellites. Its accuracy is on the order of one arcminute, and it will...
Briefs: Physical Sciences
On-Chip Microfluidic Components for In Situ Analysis, Separation, and Detection of Amino Acids
The Astrobiology Analytical Laboratory at GSFC has identified amino acids in meteorites and returned cometary samples by using liquid chromatography-electrospray ionization time-of-flight mass spectrometry (LCMS). These organic species are key markers for...
Briefs: Physical Sciences
Method of Separating Oxygen From Spacecraft Cabin Air to Enable Extravehicular Activities
Extravehicular activities (EVAs) require high-pressure, high-purity oxygen. Shuttle EVAs use oxygen that is stored and transported as a cryogenic fluid. EVAs on the International Space Station (ISS) presently use the Shuttle cryo O2, which is transported to...
Briefs: Information Technology
Sample Analysis at Mars Instrument Simulator
The Sample Analysis at Mars Instrument Simulator (SAMSIM) is a numerical model dedicated to plan and validate operations of the Sample Analysis at Mars (SAM) instrument on the surface of Mars. The SAM instrument suite, currently operating on the Mars Science Laboratory (MSL), is an analytical laboratory...
Top Stories
Blog: Lighting
A Stretchable OLED that Can Maintain Most of Its Luminescence
Blog: Energy
Batteries that Can Withstand the Cold
INSIDER: Energy
Advancing All-Solid-State Batteries
Quiz: Energy
Blog: Physical Sciences
Blog: Materials
Webcasts
Upcoming Webinars: Test & Measurement
From Spreadsheets to Insights: Fast Data Analysis Without Complex...
Upcoming Webinars: Electronics & Computers
Cooling a New Generation of Aerospace and Defense Embedded...
Upcoming Webinars: Test & Measurement
Beyond AI-Copy-Paste Engineering: Advanced AI-Integration Success...
Upcoming Webinars: Automotive
Battery Abuse Testing: Pushing to Failure
Upcoming Webinars: Internet of Things
A FREE Two-Day Event Dedicated to Connected Mobility
Upcoming Webinars: Test & Measurement
Choosing the Right N-Port Strategy: Multiport VNAs vs. Switch...

